四川龙源智造水处理设备有限公司欢迎您!
  • 公司座机
  • 028-81291392
  • 技术手机
  • 18123218647

隧道污水处理方案

文章作者:四川龙源智造水处理设备有限公司人气:发表时间:2021-03-18
  随着国家的飞速发展和社会交通的需要,隧道建设相应急剧增多,而隧道工程往往位于不是平原的山区丘陵地带,有些甚至处于饮用水源地或水源涵养区,在施工过程中会产生大量的施工污水,倘若不对施工污水进行处理,任其排放,将会造成山区水环境污染。隧道施工过程中的污水来源主要有以下几种:隧道打通过程中,在穿越不良地质单元时,产生的涌水;施工设备,如钻机等施工产生的污水;机械工作中产生一定少量含油废水;隧道爆破后及扒渣时用于降尘的污水;喷射混凝土和注浆产生的污水以及基岩裂隙水,及工作人员的少量生活用水等。
 
  隧道施工排水中,大量岩石粉尘等悬浮杂质进入水中,在排出过程中,部分水中溶解性杂质被氧化、析出,化学性质有所改变,隧道施工时的渗出水本质上属地下水,另外由于受到钻机、喷射混凝土和注浆及其它人为产生的污染,又具有地表水的特点,主要污染物为悬浮物,石油类及硝基苯类等构成的有机物。隧道施工排水如不加处理直接排放,既会污染周围环境,又会对受纳水体造成理化、生态、景观等危害。
 
  目前,隧道施工所产生的污水一般采用泥浆沉淀池进行沉淀处理后,上清液外排,污泥则作干化处理。此处理技术过于简单,其工艺参数设计不合理,排水停留时间短、容积偏小,其次,由于隧道排水来水量波动较大,故沉淀池占地面积大,反应速度慢,出水水质不稳定,无法保证达标排放。
 
污水处理装置及隧道废水处理系统及方法,以解决现有隧道废水处理中处理技术过于简单,其工艺参数设计不合理,排水停留时间短、反应速度慢、出水水质不稳定,无法保证达标排放的问题。
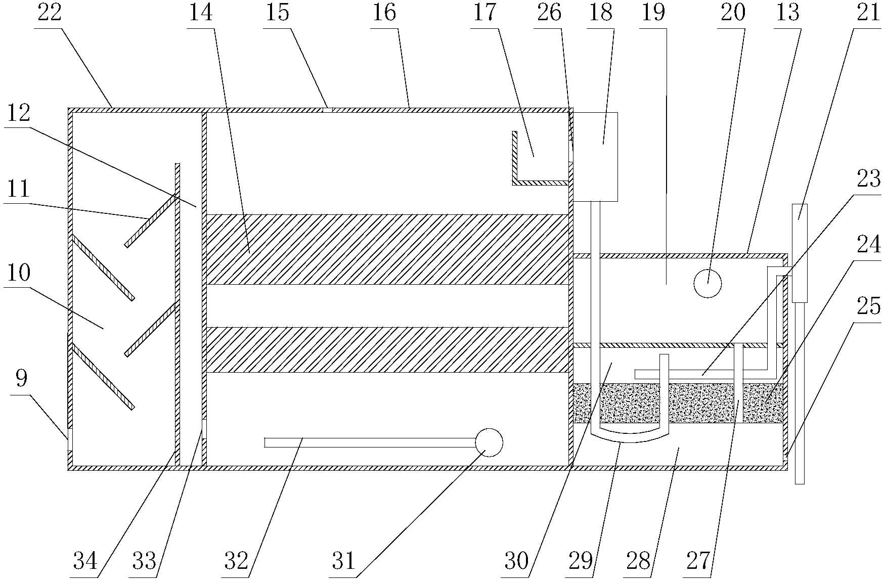
污水处理装置,其包括絮凝箱、沉淀箱、过滤箱、集水分配箱;所述絮凝箱设有与混合器相连的进水口,所述过滤箱设有与清水池相连的出水口;
  所述过滤箱设有布水管、过滤室、滤板、联通管、清水箱、集流室、集水管及虹吸反洗装置;所述集水分配箱通过沉淀箱出水口与所述沉淀箱连通,所述集水分配箱通过所述布水管与所述过滤室相连;所述清水箱位于所述过滤室上方,所述过滤室下方安装有所述滤板,所述滤板下方设有所述集流室,所述集流室通过所述联通管与所述清水箱相连,所述集流室上设有放空口;所述集水管设置在所述过滤室内,所述集水管低于所述布水管的出水口,所述集水管与所述虹吸反洗装置相连,所述集水管口径大于所述布水管口径。
 
  进一步的,所述絮凝箱设有多个翼片隔板和絮凝隔板;所述絮凝隔板将所述絮凝箱分隔为絮凝反应腔和絮凝沉降腔,所述翼片隔板设在所述絮凝反应腔内。
 
  进一步的,所述翼片隔板与所述絮凝隔板呈45°夹角,所述翼片隔板相互错开交叉排列。
 
  进一步的,所述沉淀箱设有沉淀填料;所述沉淀箱底端与所述絮凝沉降腔通过沉淀箱进水口连通,所述沉淀填料上方设有出水堰,所述沉淀箱底部设有排泥管和排泥口,所述排泥管连通所述排泥口;所述沉淀箱上设有排气口。
 
  一种隧道废水处理系统,其包括如上任一所述污水处理装置。
 
  进一步的,还包括调节池、输送装置;所述调节池,用于收集隧道废水;所述输送装置,用于将隧道废水从所述调节池输送到所述混合器;所述混合器,用于隧道废水与药液的混合所述污水处理装置用于净化隧道废水;所述清水池,用于盛放净化后的隧道废水。
 
  进一步的,所述调节池和所述污水处理装置之间设有反洗排水池,所述污水处理装置、所述反洗排水池和所述调节池通过管道依次连接;所述虹吸反洗装置连通所述反洗排水池;所述反洗排水池用于收集反洗排水。
 
  进一步的,所述调节池和所述污水处理装置之间设有排泥排水收集池,所述污水处理装置、所述排泥排水收集池和所述调节池通过管道依次连接;所述排泥口与所述排泥排水收集池连通;所述排泥排水收集池用于收集排泥排水。
 
  进一步的,所述混合器为SMP-YY式管式混合器。
 
  一种基于以上所述中隧道废水处理系统实现的方法,其特征在于:包括以下步骤:
 
  隧道产生的废水汇集到调节池;
 
  开启输送装置,将废水由调节池引入混合器,再进入污水处理装置;
 
  向混合器加入药液,药液与废水在混合器中混合;
 
  污水处理装置净化废水,经净化好的废水引入清水池。
本发明与现有技术相比具有如下优点:
 
  1.本专利通过构建虹吸效应环境,利用虹吸技术进行自动反向清洗滤板,及时清洗滤板,避免人工查验、控制清洗过程,利于提高过滤效率,稳定出水。
 
  2.本专利所述污水处理装置包括絮凝箱、沉淀箱、过滤箱;所述絮凝箱设有与所述混合器相连的进水口,所述过滤箱设有与所述清水池相连的出水口;所述沉淀箱设有沉淀填料;通过有高效沉淀效果沉淀填料的沉淀箱使水中聚并成大颗粒的杂质下沉,与水分离而使水质得到净化,沉淀出水中仍有少量细小颗粒杂质,再采用过滤箱过滤,进一步去除水中悬浮物,实现较彻底的清除。
 
  3.本专利所述隧道废水处理系统,其包括调节池、输送装置、混合器、污水处理装置和清水池;所述调节池、所述输送装置、所述混合器、所述污水处理装置和所述清水池通过管道依次连接;通过药液投放箱向水中投加凝聚剂,经过反应生成絮状沉淀,会悬浮在水中;由于絮状沉淀有比较大的表面积,所以很容易吸附水中的悬浮杂质;水中的悬浮杂质被絮状沉淀吸附后,其颗粒会由小变大,直至其所受重力大于其所受的浮力之时,杂质会与絮状沉淀一起沉淀下来;絮凝剂的加入能对水中微细颗粒和矾花进行罗捕、架桥,促使悬浮颗粒增大、增重,形成容易下沉的物质。
龙源智造水处理设备有限公司/ 污水处理设备相关资讯文章
  1. 技术人员会给您提供详细的解答和资料

  2. 您可以留下您的联系方式,技术部10分钟之内与您联系
  3. (系统只能识别正确的手机号码)请确保联系方式准确无误,或您也可以联系我们
  4. 电话:    18123218647
  5. 个人信息安全:
  6. 根据《中华人民共和国网络安全法》第四十条至第四十五条,保护个人信息安全是我们的义务。
  • 联系我们
  • 电话:028-81291392
  • 手机:18123218647
  • 邮箱:349984202@qq.com
联系地址
  • 成都市龙泉驿区车城东六路五号
备案信息:蜀ICP备2020029655号