热点关注
污水预处理超微过滤技术
本发明涉及污水处理技术领域,具体地说,涉及一种污水预处理超微过滤装置,包括用于清洗的箱体,箱体内一侧安装有布水装置,箱体内部安装有呈环状的过滤传送带,过滤传送带的两端部分别设置有主动辊筒和从动辊筒,主动辊筒、从动辊筒均与过滤传送带传动连接,过滤传送带的环形孔内安装有玻璃钢格栅,玻璃钢格栅与过滤传送带的顶部内壁相切,箱体的内部安装有用于输送清水的自吸泵,自吸泵的进水端通过水管连接水源。本发明简化装置结构,减少故障率,避免滤网堵塞,缩小占地面积,能够循环处理食品加工生产所产生的污水,使食品加工生产中产生的污水处理得更彻底。

权利要求书
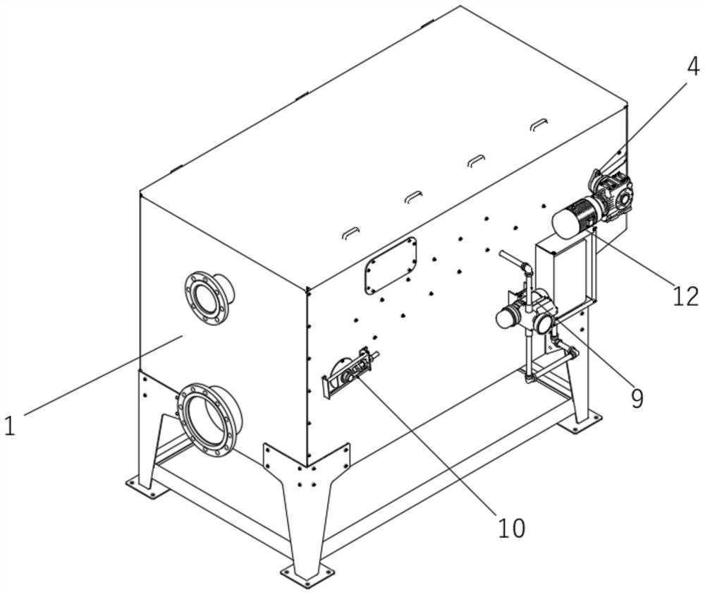
1.一种污水预处理超微过滤装置,其特征在于:包括用于清洗的箱体(1),所述箱体(1)内一侧安装有布水装置(8),所述箱体(1)内部安装有呈环状的过滤传送带(7),所述过滤传送带(7)的两端部分别设置有主动辊筒(2)和从动辊筒(3),所述主动辊筒(2)、从动辊筒(3)均与过滤传送带(7)传动连接,所述过滤传送带(7)的环形孔内安装有玻璃钢格栅(5),所述玻璃钢格栅(5)与过滤传送带(7)的顶部内壁相切,所述箱体(1)的内部安装有用于输送清水的自吸泵,所述自吸泵的进水端通过水管连接水源,所述自吸泵的出水端连接有喷淋管(9),所述喷淋管(9)设置于所述箱体(1)的内部,所述箱体(1)的外壁上还安装有为主动辊筒(2)提供动力的减速机(12)。
2.根据权利要求1所述的污水预处理超微过滤装置,其特征在于:所述减速机(12)上安装有支撑座(4),所述减速机(12)通过支撑座(4)于箱体(1)的外壁连接。
3.根据权利要求2所述的污水预处理超微过滤装置,其特征在于:所述支撑座(4)通过第一螺钉(11)安装于所述箱体(1)的外壁上。
4.根据权利要求3所述的污水预处理超微过滤装置,其特征在于:所述主动辊筒(2)远离减速机(12)的一端部安装有菱形座轴承(6)。
5.根据权利要求4所述的污水预处理超微过滤装置,其特征在于:所述菱形座轴承(6)通过第二螺钉(13)安装于所述箱体(1)的外壁上。
6.根据权利要求1所述的污水预处理超微过滤装置,其特征在于:所述布水装置(8)包括接水板(81),所述接水板(81)的正上方安装有呈L型的节水板(82)和呈L型的第一挡水板(83),所述接水板(81)的一端部连接有第二挡水板(84)。
7.根据权利要求1所述的污水预处理超微过滤装置,其特征在于:所述从动辊筒(3)的两端部对称连接有涨紧轴承座(10)。
8.根据权利要求7所述的污水预处理超微过滤装置,其特征在于:所述涨紧轴承座(10)通过第三螺钉(14)安装于箱体(1)的外壁上。
9.根据权利要求1-8任意一项所述的污水预处理超微过滤装置,其特征在于:其使用方法具体包括如下步骤:
S1:通过污水输送管接入箱体(1)的进水口,污水输送管的另一端通过潜污泵将污水抽至箱体(1)内的布水装置(8)中,并通过水管将喷淋管(9)接通自吸泵,自吸泵的进水端连接可提供热水的热水器;
S2:通过布水装置(8)中的接水板(81)、节水板(82)、第一挡水板(83)以及第二挡水板(84)将污水分散排入至过滤传送带(7)上:
S3:通过过滤传送带(7)将污水进行过滤并将污水中的杂质输送至一端,通过刮渣板将过滤传送带(7)上的杂质进行清除;
S4:在过滤传送带(7)传送杂质的过程中,通过喷淋管(9)喷出的热水对过滤传送带(7)上的杂质进行热处理;
S5:处理后的水通过倾斜的底板排出至出水口处进行排出。
说明书
一种污水预处理超微过滤装置
技术领域
本发明涉及污水处理技术领域,具体为一种污水预处理超微过滤装置。
背景技术
现在食品加工生产污水处理所用微滤机都普遍存在结构复杂,安装、维护、保养不易,造成不必要的浪费,它有以下缺陷:1.微滤机占地面积较大;2.结构复杂,安装麻烦,耗材较多,成本较高;3.故障率高;4.微滤机在使用过程中滤网容易堵塞,需要频繁地启动高压冲洗滤网。
发明内容
本发明的目的在于提供一种污水预处理超微过滤装置,以解决上述背景技术中提出现如今超微过滤机喷淋装置,其喷淋的受限性不能有效的对滤网进行清洗,严重缩短了滤网的使用寿命的问题。
为实现上述目的,本发明提供如下技术方案:
一种污水预处理超微过滤装置,包括用于清洗的箱体,所述箱体内一侧安装有布水装置,所述箱体内部安装有呈环状的过滤传送带,所述过滤传送带的两端部分别设置有主动辊筒和从动辊筒,所述主动辊筒、从动辊筒均与过滤传送带传动连接,所述过滤传送带的环形孔内安装有玻璃钢格栅,所述玻璃钢格栅与过滤传送带的顶部内壁相切,所述箱体的内部安装有用于输送清水的自吸泵,所述自吸泵的进水端通过水管连接水源,所述自吸泵的出水端连接有喷淋管,所述喷淋管设置于所述箱体的内部,所述箱体的外壁上还安装有为主动辊筒提供动力的减速机。
作为优选,所述减速机上安装有支撑座,所述减速机通过支撑座于箱体的外壁连接。
作为优选,所述支撑座通过第一螺钉安装于所述箱体的外壁上。
作为优选,所述主动辊筒远离减速机的一端部安装有菱形座轴承。
作为优选,所述菱形座轴承通过第二螺钉安装于所述箱体的外壁上。
作为优选,所述布水装置包括接水板,所述接水板的正上方安装有呈L型的节水板和呈L型的第一挡水板,所述接水板的一端部连接有第二挡水板。
作为优选,所述从动辊筒的两端部对称连接有涨紧轴承座。
作为优选,所述涨紧轴承座通过第三螺钉安装于箱体的外壁上。
其使用方法具体包括如下步骤:
S1:通过污水输送管接入箱体的进水口,污水输送管的另一端通过潜污泵将污水抽至箱体内的布水装置中,并通过水管将喷淋管接通自吸泵,自吸泵的进水端连接可提供热水的热水器;
S2:通过布水装置中的接水板、节水板、第一挡水板以及第二挡水板将污水分散排入至过滤传送带上:
S3:通过过滤传送带将污水进行过滤并将污水中的杂质输送至一端,通过刮渣板将过滤传送带上的杂质进行清除;
S4:在过滤传送带传送杂质的过程中,通过喷淋管喷出的热水对过滤传送带上的杂质进行热处理;
S5:处理后的水通过倾斜的底板排出至出水口处进行排出。
与现有技术相比,本发明的有益效果是:本污水预处理超微过滤装置中通过设置的布水装置能够缓解了水流对滤网的冲击,布水装置内部设置有多个挡水板,当水流流量过大时,挡水板对水流具有拦截功能,从而保护水流对滤网的冲击,简化装置结构,减少故障率,避免滤网堵塞,缩小占地面积,能够循环处理食品加工生产所产生的污水,使食品加工生产中产生的污水处理得更彻底,通过设置的玻璃钢格栅,且玻璃钢格栅固定在支撑架上,过滤传送带运动过程中,玻璃钢格栅对过滤传送带起到支撑作用,提高输送带使用寿命。
- 2021-07-14久马高速生活污水设备操作培训
- 2021-07-14四川交建污水处理技术培训
- 2021-03-31污水药剂搅拌装置及其使用方法
- 2020-10-02集沉砂隔油压榨一体过滤设备
- 2020-09-29市政污水排污管铺设施工系统














电话:028-81291392
手机:18123218647
邮箱:349984202@qq.com