四川龙源智造水处理设备有限公司欢迎您!
  • 公司座机
  • 028-81291392
  • 技术手机
  • 18123218647

景观鱼池新型家用污水处理技术

文章作者:四川龙源智造水处理设备有限公司人气:发表时间:2020-08-20

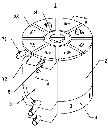
本发明提供一种景观鱼池新型家用污水处理设备。所述景观鱼池新型家用污水处理设备包括圆柱形的主处理腔,和设于所述主处理腔的侧面的粗处理腔;所述粗处理腔大体为方形,其贴近所述主处理腔的一侧面为与之贴合的弧面,并设有贯穿侧壁的粗处理排水孔,与之相对的另一面设有进水管;在所述主处理腔内以与之同心的结构设有圆柱形的沉淀区,在所述沉淀区外径向的设有多片隔板,将所述主处理腔内隔断形成多个处理区。本发明提供的所述景观鱼池新型家用污水处理设备解决了现有的水处理设备不适用于家用的鱼池、鱼缸的问题。

 

  权利要求书

  1.一种景观鱼池新型家用污水处理设备,其特征在于:包括圆柱形的主处理腔,和设于所述主处理腔的侧面的粗处理腔;所述粗处理腔大体为方形,其贴近所述主处理腔的一侧面为与之贴合的弧面,并设有贯穿侧壁的粗处理排水孔,与之相对的另一面设有进水管;在所述主处理腔内以与之同心的结构设有圆柱形的沉淀区,在所述沉淀区外径向的设有多片隔板,将所述主处理腔内隔断形成多个处理区;

  所述粗处理腔通过所述粗处理排水孔与一个所述处理区连通,记为第一处理区;所述第一处理区按顺时针或逆时针的方向依次通过排水孔与相邻的所述处理区连通,最后一个所述处理区通过排水孔与所述沉淀区连通;所述沉淀区的顶部设有缺口,并在缺口处设有一道溢流槽,所述溢流槽穿过所述第一处理区、所述粗处理腔至外部;

  所述粗处理区内设有截留大体积杂质的粗滤层;所述第一处理区内,沿水流方向依次设有过滤程度依次提升的多道精滤层;在此之后的二个或以上数量的所述处理区内,沿水流方向依次设有多道调节填料层;在此之后的四个或以上数量的所述处理区内,沿水流方向依次设有多道生化填料层;最后一个所述处理区内设有石英砂过滤层。

  2.根据权利要求1所述的景观鱼池新型家用污水处理设备,其特征在于:所述粗处理腔内靠近顶部的位置设有所述粗处理排水孔,其内设有排水管,排水管靠水流方向下游的一端延伸至底部;由所述粗处理腔至最后一个所述处理区之间均为此结构,但最后一个所述处理区与其之前的一个所述处理区之间设置的排水管不延伸至底部。

  3.根据权利要求1所述的景观鱼池新型家用污水处理设备,其特征在于:部分或全部的设有生化填料层的所述处理区内,还设有于所述主处理腔的顶面贯穿而来的氧棒;所述溢流槽内还设有UV灯。

  4.根据权利要求1至3任一所述的景观鱼池新型家用污水处理设备,其特征在于:还包括排泥腔,其结构与所述主处理腔、所述粗处理腔一致,包括圆柱部分和设于圆柱侧壁的方形部分;其顶面敞开,以可拆卸的结构与所述主处理腔、所述粗处理腔的底部衔接;所述排泥腔内包括连通所述粗处理腔,并设有排泥管道的粗处理排泥区;连通所述沉淀区,并设有排泥管道的沉淀排泥区;连通除最后一个所述处理区外的其他所有所述处理区,并设有排泥管道的主排泥区。

  5.根据权利要求4所述的景观鱼池新型家用污水处理设备,其特征在于:所述粗处理腔与所述粗处理排泥区之间直接连通;所述沉淀区的底部直接连接贯通至外部的排泥管道,即没有所述沉淀排泥区;所述主排泥区与除最后一个所述处理区外的其他所有所述处理区,分别通过一组活动盖板连通,多个所述活动盖板全部相联动。

  6.根据权利要求1至3任一所述的景观鱼池新型家用污水处理设备,其特征在于:最后一个所述处理区内还设有反冲洗管道,其顶端连接有一个三通,三通的一个出口连接管道并贯穿与所述沉淀区的排水孔至所述沉淀区内,三通的另一个出口连接管道并贯穿所述主处理腔的侧壁至外部;其底端穿过所述石英砂过滤层至底部。

  7.根据权利要求6所述的景观鱼池新型家用污水处理设备,其特征在于:最后一个所述处理区与其之前的一个所述处理区之间设置的排水管设有阀门,与所述沉淀区之间设置的管道设有阀门;还包括反冲洗排水管,所述反冲洗排水管一端贯穿至最后一个所述处理区内并设有阀门,另一端连接所述粗处理腔的所述进水管并设有阀门。

  8.根据权利要求1至3任一所述的景观鱼池新型家用污水处理设备,其特征在于:所述主处理腔的顶部为可拆卸的结构;其中所述沉淀区的顶部内壁设有螺纹,圆形的沉淀区盖板通过螺纹旋入密封所述沉淀区的顶部;每一所述处理区的顶部径向隔板的内壁设有凹槽,扇形的处理区盖板通过卡入凹槽内插入密封所述处理区的顶部。

  9.根据权利要求8所述的景观鱼池新型家用污水处理设备,其特征在于:所述溢流槽为可拆卸的结构;所述沉淀区靠所述第一处理区的侧壁设有一个缺口,所述粗处理腔的顶部以与之同轴的角度设有尺寸一致的另一个缺口;所述溢流槽的两端分别卡入两个缺口内。

  10.根据权利要求9所述的景观鱼池新型家用污水处理设备,其特征在于:所述精滤层、所述调节填料层、所述生化填料层均置于具有多层放置架的填料笼内,所述填料笼置于所述处理区内。

  说明书

  景观鱼池新型家用污水处理设备

  技术领域

  本发明涉及污水处理领域,具体涉及一种景观鱼池新型家用污水处理设备。

  背景技术

  目前在室内设置鱼缸、鱼池作为景观、装饰的现象十分普遍,为了保证养的鱼的健康、观赏效果好,养鱼的水处理至关重要。目前常用的水处理方式有:砂缸过滤、滴流过滤、不锈钢一体化过滤、塑料鱼池过滤器、溢流过滤、生态过滤。分别存在以下缺点:

  1、砂缸过滤物理过滤效果明显,但生化过滤效果不理想;

  2、滴流过滤处理水质的能力较强,但后期维护起来比较麻烦,需要经常对过滤棉进行清洗更换,能耗较大,噪音大;

  3、不锈钢一体化过滤优点多,但未硬化的鱼池不能使用;

  4、塑料鱼池过滤器体积小,外形美观,但也正因体积小,导致生化过滤效果不理想,且不适合于室外鱼室,容易老化;

  5、溢流过滤过滤适用于专业养殖场,不适合家中使用;

  6、生态过滤是比较符合自然规律的一种过滤方式,但水产植物不容易清理,死后腐烂所产生的物质同样容易污染水体。

  发明内容

  为解决现有的水处理设备不适用于家用的鱼池、鱼缸的问题,本发明提供一种解决上述问题的景观鱼池新型家用污水处理设备。

  一种景观鱼池新型家用污水处理设备,包括圆柱形的主处理腔,和设于所述主处理腔的侧面的粗处理腔;所述粗处理腔大体为方形,其贴近所述主处理腔的一侧面为与之贴合的弧面,并设有贯穿侧壁的粗处理排水孔,与之相对的另一面设有进水管;在所述主处理腔内以与之同心的结构设有圆柱形的沉淀区,在所述沉淀区外径向的设有多片隔板,将所述主处理腔内隔断形成多个处理区;

  所述粗处理腔通过所述粗处理排水孔与一个所述处理区连通,记为第一处理区;所述第一处理区按顺时针或逆时针的方向依次通过排水孔与相邻的所述处理区连通,最后一个所述处理区通过排水孔与所述沉淀区连通;所述沉淀区的顶部设有缺口,并在缺口处设有一道溢流槽,所述溢流槽穿过所述第一处理区、所述粗处理腔至外部;

  所述粗处理区内设有截留大体积杂质的粗滤层;所述第一处理区内,沿水流方向依次设有过滤程度依次提升的多道精滤层;在此之后的二个或以上数量的所述处理区内,沿水流方向依次设有多道调节填料层;在此之后的四个或以上数量的所述处理区内,沿水流方向依次设有多道生化填料层;最后一个所述处理区内设有石英砂过滤层。

  在本发明提供的景观鱼池新型家用污水处理设备的一种较佳实施例中,所述粗处理腔内靠近顶部的位置设有所述粗处理排水孔,其内设有排水管,排水管靠水流方向下游的一端延伸至底部;由所述粗处理腔至最后一个所述处理区之间均为此结构,但最后一个所述处理区与其之前的一个所述处理区之间设置的排水管不延伸至底部。部分或全部的设有生化填料层的所述处理区内,还设有于所述主处理腔的顶面贯穿而来的氧棒;所述溢流槽内还设有UV灯。

  在本发明提供的景观鱼池新型家用污水处理设备的一种较佳实施例中,还包括排泥腔,其结构与所述主处理腔、所述粗处理腔一致,包括圆柱部分和设于圆柱侧壁的方形部分;其顶面敞开,以可拆卸的结构与所述主处理腔、所述粗处理腔的底部衔接;所述排泥腔内包括连通所述粗处理腔,并设有排泥管道的粗处理排泥区;连通所述沉淀区,并设有排泥管道的沉淀排泥区;连通除最后一个所述处理区外的其他所有所述处理区,并设有排泥管道的主排泥区。所述粗处理腔与所述粗处理排泥区之间直接连通;所述沉淀区的底部直接连接贯通至外部的排泥管道,即没有所述沉淀排泥区;所述主排泥区与除最后一个所述处理区外的其他所有所述处理区,分别通过一组活动盖板连通,多个所述活动盖板全部相联动。

  在本发明提供的景观鱼池新型家用污水处理设备的一种较佳实施例中,最后一个所述处理区内还设有反冲洗管道,其顶端连接有一个三通,三通的一个出口连接管道并贯穿与所述沉淀区的排水孔至所述沉淀区内,三通的另一个出口连接管道并贯穿所述主处理腔的侧壁至外部;其底端穿过所述石英砂过滤层至底部。最后一个所述处理区与其之前的一个所述处理区之间设置的排水管设有阀门,与所述沉淀区之间设置的管道设有阀门;还包括反冲洗排水管,所述反冲洗排水管一端贯穿至最后一个所述处理区内并设有阀门,另一端连接所述粗处理腔的所述进水管并设有阀门。

  在本发明提供的景观鱼池新型家用污水处理设备的一种较佳实施例中,所述主处理腔的顶部为可拆卸的结构;其中所述沉淀区的顶部内壁设有螺纹,圆形的沉淀区盖板通过螺纹旋入密封所述沉淀区的顶部;每一所述处理区的顶部径向隔板的内壁设有凹槽,扇形的处理区盖板通过卡入凹槽内插入密封所述处理区的顶部。所述溢流槽为可拆卸的结构;所述沉淀区靠所述第一处理区的侧壁设有一个缺口,所述粗处理腔的顶部以与之同轴的角度设有尺寸一致的另一个缺口;所述溢流槽的两端分别卡入两个缺口内。所述精滤层、所述调节填料层、所述生化填料层均置于具有多层放置架的填料笼内,所述填料笼置于所述处理区内。

  相较于现有技术,本发明提供的所述景观鱼池新型家用污水处理设备体积小、结构紧凑,充分利用内部空间隔断形成大量的处理区,兼具外形美观和良好的生化过滤效果。通过合理的结构设计,使更换填料、排泥、反冲洗清洁等维护工作均十分方便,便于家庭使用。

龙源智造水处理设备有限公司/ 污水处理设备相关资讯文章
  1. 技术人员会给您提供详细的解答和资料

  2. 您可以留下您的联系方式,技术部10分钟之内与您联系
  3. (系统只能识别正确的手机号码)请确保联系方式准确无误,或您也可以联系我们
  4. 电话:    18123218647
  5. 个人信息安全:
  6. 根据《中华人民共和国网络安全法》第四十条至第四十五条,保护个人信息安全是我们的义务。
  • 联系我们
  • 电话:028-81291392
  • 手机:18123218647
  • 邮箱:349984202@qq.com
联系地址
  • 成都市龙泉驿区车城东六路五号
备案信息:蜀ICP备2020029655号