热点关注
新型垂直流人工湿地
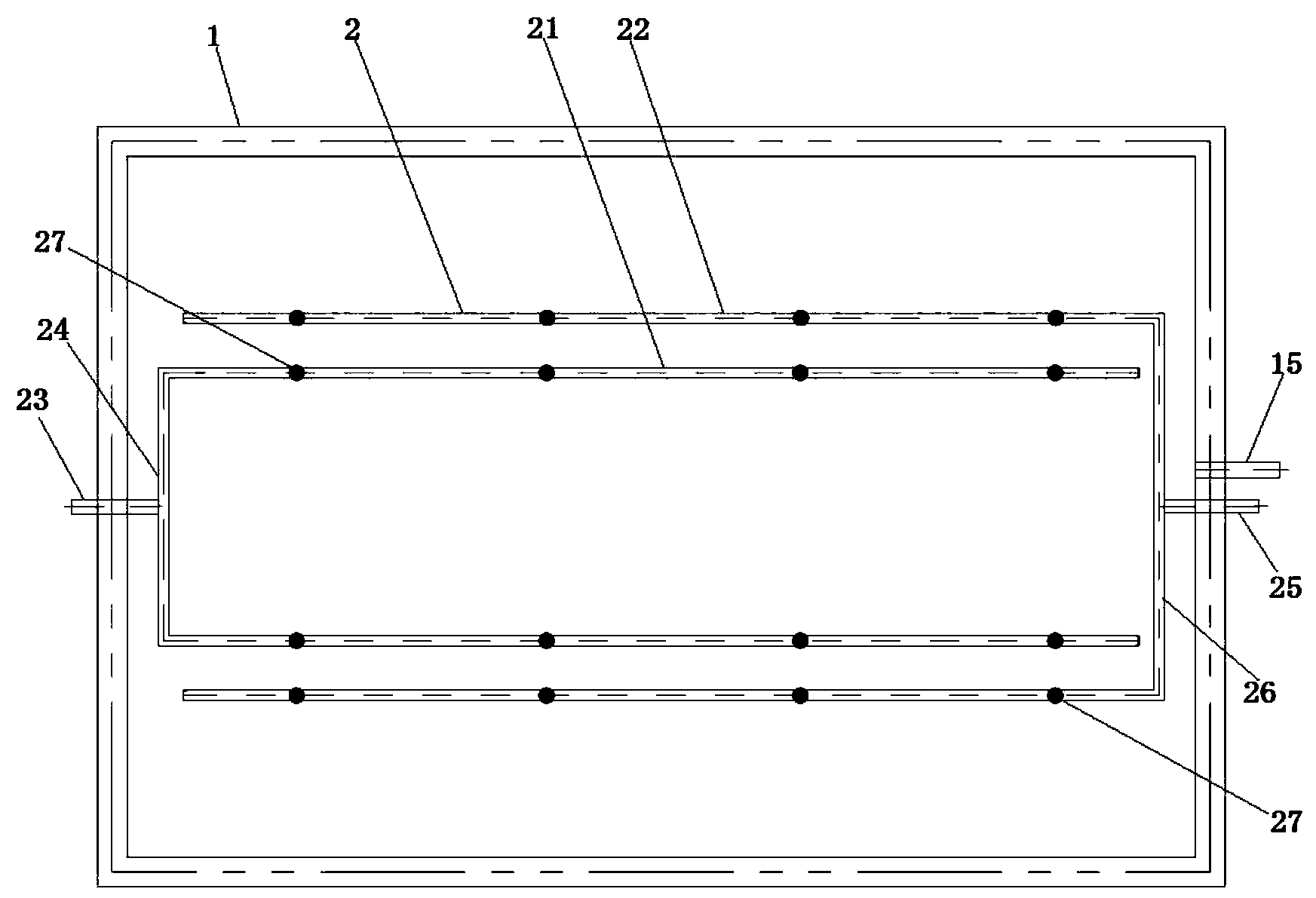
一种新型垂直流人工湿地,其包括池体,所述池体内部由下至上分别设置有承托层、生物质填料层、陶粒层,陶粒层的上部设置有布水系统,所述的布水系统包括进水系统和补水系统,所述的进水系统与进水管连接,包括设置于陶粒层上部的布水管,所述布水管上等间距设置有PP螺旋喷嘴;所述的补水系统与补进水管连接,包括设置于陶粒层上部的补水管,所述补水管上等间距设置有PP螺旋喷嘴;所述的陶粒层上部设置有多棵水生植物组成的水生植物层,所述的池体底部的承托层下部设置有与外部连通的集水管。本发明为一种布水均匀、污水处理效果良好的新型垂直流人工湿地。
权利要求书
1.一种新型垂直流人工湿地,其特征在于:包括池体,所述池体内部由下至上分别设置有承托层、生物质填料层、陶粒层,陶粒层的上部设置有布水系统,所述的布水系统包括进水系统和补水系统,所述的进水系统与进水管连接,包括设置于陶粒层上部的布水管,所述布水管上等间距设置有PP螺旋喷嘴;所述的补水系统与补进水管连接,包括设置于陶粒层上部的补水管,所述补水管上等间距设置有PP螺旋喷嘴;所述的陶粒层上部设置有多棵水生植物组成的水生植物层,所述的池体底部的承托层下部设置有与外部连通的集水管。
2.根据权利要求1所述的一种新型垂直流人工湿地,其特征在于:所述的承托层为碎石承托层,其厚度为20-40cm。
3.根据权利要求1所述的一种新型垂直流人工湿地,其特征在于:所述的生物质填料为层填料填充层,填料采用改进的生物质滤料。
4.根据权利要求1或3所述的一种新型垂直流人工湿地,其特征在于:所述的生物质填料层的厚度为30-50cm。
5.根据权利要求1所述的一种新型垂直流人工湿地,其特征在于:所述的陶粒层的厚度为5-15cm。
6.根据权利要求1所述的一种新型垂直流人工湿地,其特征在于:所述的池体内侧壁及池体底面上覆盖一层防渗膜。
说明书
一种新型垂直流人工湿地
技术领域
本发明涉及环境治理技术领域,尤其是涉及一种用于污水处理的新型垂直流人工湿地。
背景技术
人工湿地是通过湿地滤料和植物双重作用来提升水质的一种技术手段,湿地应用的场所较多,工艺非常成熟。人工湿地种类有垂直流人工湿地、水平流人工湿地、表面流人工湿地、潜流人工湿地。垂直流人工湿地因具有较高的水力负荷、污染物去除效率高、占地小等优点,越来越得到大面积的应用,垂直流湿地多用于不同污染负荷生活污水的处理。垂直流人工湿地主要包括布水系统、填料区、水生植物、排水系统等组成,现有的大部分的垂直流人工湿地均为饱和型湿地,湿地内部为满水状态;布水系统采用穿孔管形式,补水效果较差,布水不均匀,长期运行后,出水孔容易堵塞,需要经常进行维护,后期维护的成本较高;填料采用传统的碎石、火山岩、陶粒、细沙等滤料,对污水中氨氮、总磷等的处理效率偏低。
发明内容
针对现有技术不足,本发明提供了一种布水均匀、污水处理效果良好的新型垂直流人工湿地。
本发明解决上述技术问题采用的技术方案为:
一种新型垂直流人工湿地,其包括池体,所述池体内部由下至上分别设置有承托层、生物质填料层、陶粒层,陶粒层的上部设置有布水系统,所述的布水系统包括进水系统和补水系统,所述的进水系统与进水管连接,包括设置于陶粒层上部的布水管,所述布水管上等间距设置有PP螺旋喷嘴;所述的补水系统与补进水管连接,包括设置于陶粒层上部的补水管,所述补水管上等间距设置有PP螺旋喷嘴;所述的陶粒层上部设置有多棵水生植物组成的水生植物层,所述的池体底部的承托层下部设置有与外部连通的集水管。
进一步地,所述的承托层为碎石承托层,其厚度为20-40cm,承托层可以很好的承托上部的生物质填料层并有利于过滤水下渗以及集水管收集。
进一步地,所述的生物质填料为层填料填充层,填料采用改进的生物质滤料。
进一步地,所述的生物质填料层的厚度为30-50cm。
进一步地,所述的陶粒层的厚度为5-15cm。
进一步地,所述的池体内侧壁及池体底面上覆盖一层防渗膜,防渗膜将池体内壁及底部包围,防止水体渗向池体结构,所述防渗膜的厚度为1mm。
与现有技术相比,本发明具备的有益效果为:布水均匀处理效率高、对于氨氮和总磷的去除率较高、不易堵塞,具体为:
(1)使用PP螺旋喷头,喷洒面积较大,污水与填料接触面广,布水更加均匀,同时提高了水生植物存活率;
(2)增加补水系统,确保了水生植物正常生长;
(3)湿地为不存水状态,内部溶解氧含量较高,填料上附着的微生物以好氧微生物为主,大大提高了氮磷的去除效率;
(4)填料采用改进的生物质滤料,该滤料表面积达到1000m2/m3,强度高,孔隙率高,易挂膜等特点,提高了微生物含量,延长了湿地滤水时间,水体过滤运行时间更长。
- 2021-07-14久马高速生活污水设备操作培训
- 2021-07-14四川交建污水处理技术培训
- 2021-03-31污水药剂搅拌装置及其使用方法
- 2020-10-02集沉砂隔油压榨一体过滤设备
- 2020-09-29市政污水排污管铺设施工系统















电话:028-81291392
手机:18123218647
邮箱:349984202@qq.com