热点关注
环境污水处理防污泥堵管推移方法
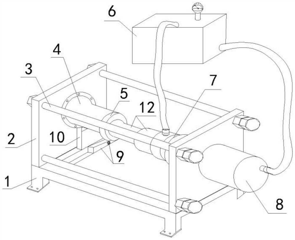
本发明公开一种环境污水处理防污泥堵管推移装置,包括定位支撑底座、增厚侧向定位立板、防偏位连接杆、油缸筒、防振定位法兰圆盘、防偏卡环、水平带法兰筒和油压工作站,两块增厚侧向定位立板安装在定位支撑底座上,增厚侧向定位立板之间有四个防偏位连接杆,油缸筒安装在增厚侧向定位立板上,防振定位法兰圆盘安装在增厚侧向定位立板侧面,油缸筒的顶柱推杆穿装在水平带法兰筒内,水平带法兰筒上安装有防偏卡环,水平带法兰筒穿装在另一块增厚侧向定位立板上。本发明整体紧凑稳定性好强度高,能够推移拆除环境污水处理设施底部污泥管道,及污泥管道内的污泥,通过防偏卡环实现机械校准,解决污泥管道难拆卸及管道内污泥难推出的问题。

权利要求书
1.一种环境污水处理防污泥堵管推移装置,其特征在于包括定位支撑底座、增厚侧向定位立板、防偏位连接杆、油缸筒、防振定位法兰圆盘、防偏卡环、水平带法兰筒和油压工作站,增厚侧向定位立板有两块,两块增厚侧向定位立板安装在定位支撑底座上面,两块增厚侧向定位立板的四角处安装有四个防偏位连接杆,油缸筒安装在一块增厚侧向定位立板上面,防振定位法兰圆盘安装在与安装有油缸筒增厚侧向定位立板相对的对应侧面上,油缸筒的顶柱推杆穿装在水平带法兰筒内,水平带法兰筒与油缸筒对应的侧面上安装有防偏卡环,所述防偏卡环套装在油缸筒的顶柱推杆上,防偏卡环能够转动调节油缸筒顶柱推杆,确保油缸筒顶柱推杆与水平带法兰筒中心线在同一条水平直线上,所述水平带法兰筒的带法兰端穿装在另一块增厚侧向定位立板的中心位置,水平带法兰筒的带法兰端能够通过螺栓与,待拆污泥外排管道的环境污水处理设施侧面固定连接,拆卸污泥外排管道时,油缸筒、防振定位法兰圆盘、水平带法兰筒与污泥外排管道四者的水平中心线,位于同一条水平直线上,所述定位支撑底座上有横梁托架一和横梁托架二,横梁托架一的上部与水平带法兰筒的底部连接,横梁托架二的上部与水平带法兰筒防偏卡环接触区域的底部连接,所述油压工作站通过油管与油缸筒连接。
2.根据权利要求1所述的一种环境污水处理防污泥堵管推移装置,其特征在于所述横梁托架一和横梁托架二的底部固定安装在定位支撑底座上,横梁托架一和横梁托架二上部有C形弧面沟槽,横梁托架一和横梁托架二的中间有高低调节杆和调节螺母,高低调节杆和调节螺母能够调节C形弧面沟槽的高度,确保横梁托架一上部的C形弧面沟槽与水平带法兰筒的底部接触,横梁托架二上部的C形弧面沟槽与水平带法兰筒防偏卡环接触区域的底部接触。
3.根据权利要求1所述的一种环境污水处理防污泥堵管推移装置,其特征在于所述防偏位连接杆的两端有外螺纹,防偏位连接杆穿装在增厚侧向定位立板的四角处,每个防偏位连接杆的端部都安装有两个增厚并紧螺母。
说明书
一种环境污水处理防污泥堵管推移装置
技术领域
本发明涉及污泥推移装置领域,具体属于一种环境污水处理防污泥堵管推移装置。
背景技术
近年来随着人民环保意识的不断提高,国内环境污水处理的范围以基本实现了全覆盖。在环境污水处理过程中,污水处理设施的建设及正常运行使用起到至关重要的作用。污水处理设施通常有沉淀池或沉泥池,在沉淀池或沉泥池的底部或侧向需要安装有污泥外排管道,已满足污水处理设施整体运行排泥的实际需要。此类污泥管道根据环境污水处理的实际需要,有些采用PP或PUC或ABS材质的管道,有些采用金属材质的管道。随着管道加工技术的不断改进,近年来内层嵌装PP或PUC或ABS材质的管道,外层包覆金属材质管道的整体复合防腐管道,作为污泥外排管道的使用范围越来越广。
在使用污水处理设施的过程中,需要将污泥外排管道固定安装在沉淀池或沉泥池的特定位置。污水处理设施使用一段时间后,有时需要检修或移动,此时经常需要对污泥外排管道进行拆卸或调整。但是此类环境污水处理设施配套的污泥外排管道拆卸时,经常会因管内污泥静渍沉淀,使得环境污水处理设施配套的污泥排出管道固定件被锈蚀,导致污泥管道难拆除,同时污泥管道内的污泥难以被推出,会堵塞管道,使得污泥外排管道不能排泥。为此,本发明提供了一种环境污水处理防污泥堵管推移装置。
发明内容
本发明提供一种环境污水处理防污泥堵管推移装置,通过对定位支撑底座、增厚侧向定位立板、防偏位连接杆、油缸筒、防振定位法兰圆盘、防偏卡环、水平带法兰筒和油压工作站的整体研发设计,解决了上述背景技术中提到的问题。在进行拆卸环境污水处理设施配套的污泥外排管道时,将本发明中的水平带法兰筒的带法兰端通过螺栓与,待拆污泥外排管道的环境污水处理设施的侧面固定连接,拆卸污泥外排管道时,通过防偏卡环进行机械校准,确保油缸筒、防振定位法兰圆盘、水平带法兰筒与污泥外排管道四者的水平中心线,位于同一条水平直线上,通过油压工作站对油缸筒进行供油压,运用油缸筒的顶柱推杆的油压推力,克服污泥排出管道被锈蚀固定件与环境污水处理设施之间的连接力,将污泥排出管道从环境污水处理设施外侧推移脱落,达到方便拆卸污泥排出管道的目的;
如果需要推出堵塞污泥外排管道内的污泥时,按照上述相同的方式,将本发明中水平带法兰筒的带法兰端通过螺栓与,待拆污泥外排管道的环境污水处理设施的侧面固定连接,通过防偏卡环进行机械校准,确保油缸筒、防振定位法兰圆盘、水平带法兰筒与污泥外排管道四者的水平中心线,位于同一条水平直线上,此时油缸筒顶柱推杆直接对准污泥外排管道内部的堵塞污泥,运用油缸筒的顶柱推杆的油压推力,克服污泥排出管道内部污泥与污泥外排管道之间的力,将污泥从污泥排出管道内推移脱落。
本发明整体紧凑,稳定性好,强度高,能够解决环境污水处理设施底部污泥管道拆卸时,因管内污泥静渍沉淀,使得环境污水处理设施底部污泥排出管道固定件被锈蚀,导致污泥管道难拆除,同时污泥管道内的污泥难以被推出,实现环境污水处理设施底部污泥管道拆卸安全方便,整体操作简易便捷。
本发明采用的技术方案如下:
一种环境污水处理防污泥堵管推移装置,其特征在于包括定位支撑底座、增厚侧向定位立板、防偏位连接杆、油缸筒、防振定位法兰圆盘、防偏卡环、水平带法兰筒和油压工作站,增厚侧向定位立板有两块,两块增厚侧向定位立板安装在定位支撑底座上面,两块增厚侧向定位立板的四角处安装有四个防偏位连接杆,油缸筒安装在一块增厚侧向定位立板上面,防振定位法兰圆盘安装在与安装有油缸筒增厚侧向定位立板相对的对应侧面上,油缸筒的顶柱推杆穿装在水平带法兰筒内,水平带法兰筒与油缸筒对应的侧面上安装有防偏卡环,所述防偏卡环套装在油缸筒的顶柱推杆上,防偏卡环能够转动调节油缸筒顶柱推杆,确保油缸筒顶柱推杆与水平带法兰筒中心线在同一条水平直线上,所述水平带法兰筒的带法兰端穿装在另一块增厚侧向定位立板的中心位置,水平带法兰筒的带法兰端能够通过螺栓与,待拆污泥外排管道的环境污水处理设施侧面固定连接,拆卸污泥外排管道时,油缸筒、防振定位法兰圆盘、水平带法兰筒与污泥外排管道四者的水平中心线,位于同一条水平直线上,所述定位支撑底座上有横梁托架一和横梁托架二,横梁托架一的上部与水平带法兰筒的底部连接,横梁托架二的上部与水平带法兰筒防偏卡环接触区域的底部连接,所述油压工作站通过油管与油缸筒连接。
优选地,所述横梁托架一和横梁托架二的底部固定安装在定位支撑底座上,横梁托架一和横梁托架二上部有C形弧面沟槽,横梁托架一和横梁托架二的中间有高低调节杆和调节螺母,高低调节杆和调节螺母能够调节C形弧面沟槽的高度,确保横梁托架一上部的C形弧面沟槽与水平带法兰筒的底部接触,横梁托架二上部的C形弧面沟槽与水平带法兰筒防偏卡环接触区域的底部接触。
优选地,所述防偏位连接杆的两端有外螺纹,防偏位连接杆穿装在增厚侧向定位立板的四角处,每个防偏位连接杆的端部都安装有两个增厚并紧螺母。
与已有技术相比,本发明的有益效果如下:
通过对定位支撑底座、增厚侧向定位立板、防偏位连接杆、油缸筒、防振定位法兰圆盘、防偏卡环、水平带法兰筒和油压工作站的整体研发设计,制造出一种环境污水处理防污泥堵管推移装置。本发明通过定位支撑底座中的横梁托架一和横梁托架二,以及增厚侧向定位立板、防偏位连接杆、油缸筒、防振定位法兰圆盘、防偏卡环、水平带法兰筒,能够确保拆卸环境污水处理设施配套的污泥外排管道时,油缸筒、防振定位法兰圆盘、水平带法兰筒与污泥外排管道四者的水平中心线,在同一条水平直线上,通过油压工作站对油缸筒进行供油压,运用油缸筒的顶柱推杆的油压推力,运用油缸筒的顶柱推杆的油压推力,克服污泥排出管道被锈蚀固定件与环境污水处理设施之间的连接力,将污泥排出管道从环境污水处理设施外侧推移脱落,进而拆卸污泥排出管道,此种拆卸方式能够防止环境污水处理设施配套的污泥外排管道拆卸时,因振动引发污泥外排管道整体偏位,导致污泥外排管道发生扭偏;同时通过防偏卡环能够校准污泥外排管道与油缸筒顶柱推杆的水平直线,杜绝拆卸操作不当或拆卸时振动偏移,引发难以拆卸情况的发生。
本发明整体紧凑,稳定性好强度高,能够推移拆除环境污水处理设施底部污泥管道,以及污泥管道内的污泥,通过防偏卡环实现机械校准,解决污泥管道难拆卸及管道内污泥难推出的问题。
- 2021-07-14久马高速生活污水设备操作培训
- 2021-07-14四川交建污水处理技术培训
- 2021-03-31污水药剂搅拌装置及其使用方法
- 2020-10-02集沉砂隔油压榨一体过滤设备
- 2020-09-29市政污水排污管铺设施工系统














电话:028-81291392
手机:18123218647
邮箱:349984202@qq.com